Krav ifølge forskrifter
Med forbehold om endringer, nevnes følgende forskrifter:
Forskrifter for elektriske anlegg sier at dører til rom for høyspenningsanlegg skal kunne åpnes fra innsiden med kne, albue, eller annen kroppsdel, også av person som kryper eller åler. Veiledning til teknisk forskrift til plan og bygningsloven angir at dør i rømningsvei i bygning beregnet for virksomhet i risikoklasse 5 og 6, må kunne åpnes med ett grep og uten bruk av nøkkel. Dette utdypes i; Veiledning til forskrift om brannforebyggende tiltak og branntilsyn, hvor det anbefales å bruke et horisontalt panikkbeslag på rømningsdører der det kan oppstå panikk eller opphoping av folk.
Funksjon
EXIT panikkbeslag er tilvirket av rustfritt polert stål, har et tiltalende utseende, og er meget lett å operere på grunn av en patentert glideteknikk. EXIT 7000-serien (for horisontal montering) er testet i henhold til NS EN 1125 med følgende klassifisering: 37611422A.
EXIT 5000 erstatter vriderhåndtaket på innsiden av døren og opererer dørens låskasse uten spesielle inngrep i dørkonstruksjonen eller låsen. Dette er viktig i forbindelse med branndører, da disse ikke kan sertifiseres med annen låsmekanisme enn det de er testet med. Beslaget passer på låskasse TrioVing 8561, og i spesielle tilfelle på TrioVing 565, der dør ikke skal låses. EXIT 5000 passer godt i kombinasjon med el. sluttstykke og to-fallelås som Assa 1560.
To-fløyet dør
EXIT 5000 virker på aktiv fløy. Hvis begge fløyer skal åpnes med et grep, utstyres passiv fløy med automatskåter.
Tekniske data
Standard lengde er 720 mm, men andre lengder kan spesialbestilles. EXIT leveres i fire utførelser:
5201: Vertikalt montert på høyrehengslet dør
5202: Vertikalt montert på venstrehengslet dør
7011: Horisontalt montert på høyrehengslet dør
7012: Horisontalt montert på venstrehengslet dør
EXIT LongH Extra long Pipe 1150mm Right Horisontalt
EXIT LongV Extra long Pipe 1150mm Left Horisontalt
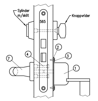
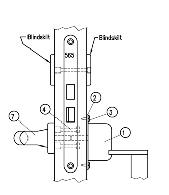
Montering av Exit 5000
Eksemplene viser vertikal montering av panikkbeslaget på en ståldør. Horisontal montering utføres i prinsippet på samme måte.
- EXIT 5201/5202 (vertikal/horisontal – høyre/venstre)
- Monteringsplate t.nr. 346-03
- Selvgjengende plateskrue ø3,5
- Avkappbare skruer
- Dørknapp m/hylsemuttere
- Blindskilt m/hylsemuttere
- Vriderhalvdel med fast skilt og vriderpinne
Det tas forbehold om konstruksjonsendringer.
NORMAL UTFØRELSE:
Åpnes med panikkbeslag fra innsiden.
Åpnes med nøkkel (alltid) fra utsiden.
Tilbakerømming uten nøkkel er ikke mulig.

INGEN ADGANG FRA UTSIDEN
(alternativ låskasse 8561, 1498 m.fl.)
Åpnes med panikkbeslag fra innsiden.
Kan ikke åpnes fra utsiden.
Tilbakerømming uten nøkkel er ikke mulig.

MED LÅSBAR REILE
(panikkbeslaget virker ikke når reilen er låst)
Kan benyttes i rom hvor man er sikker på at det ikke er folk tilstede når døren er låst med reile. F.eks. små elektro-rom.
Åpnes med panikkbeslaget fra innsiden (når reile ikke er låst).
Åpnes med vriderhandtak og nøkkel (hvis låst) fra utsiden.
Tilbakerømming uten nøkkel er mulig forutsatt at men ikke låser etter seg med nøkkel når man rømmer.

ULÅST (alternativ låskasse 8561, 1498 m.fl.)
Åpnes med panikkbeslag fra innsiden.
Åpnes med vriderhandtaket fra utsiden.
Tilbakerømming uten nøkkel er mulig.
