Bruksområde tilfluktsrom ventilasjon
ABC-filter GF-40 og GF-75 er små filter som er spesielt egnet for bruk i kjøretøy, containere og andre rom hvor det oppholder seg et mindre antall mennesker, eksempelvis tilfluktsrom. Filtrene er kompakte, og gir maksimal beskyttelse mot alle kjente stridsgasser, radioaktivt støv, og biologiske stridsmidler. Filteret er godkjent av Swiss Federal Office of Civil Defence og Swiss Defence Procurement Agency.
Montering
ABC-filteret er grunnsjokksikret og boltes derfor normalt direkte til gulv. Hvert filter skal påmonteres en volumregulator for å sikre at nominell kapasitet ikke blir overskredet, Volumregulatoren ansluttes på filterets utløpsside. For å sikre overtrykk i rommet, må det monteres en reguleringsventil eller en sjokk/overtrykksventil i luftavkastet, for eksempel YV-1. Hvis enheten kan bli utsatt for eksplosjoner, må det monteres en sjokkventil i luftinntaket. Passende ventiler er ESV/VF-40 eller ESV/VF-75. Som en opsjon kan disse leveres med grovfilter.
Innregulering av ventilasjonssystem
Som tilleggsutstyr kan det leveres et motstandsstykke for innregulering av filtervifte, og til simulering av filterventilasjon under øvelse.
Lagring og vedlikehold
ABC-filteret skal forbli hermetisk lukket og plombert inntil en beredskapssituasjon. Ved klargjøring, må plomberte hetter på stussene fjernes, og slangeforbindelser med hurtigkobling kobles til. Foruten renhold og vedlikehold av filterbeholderens overflate, er det ikke behov for annet vedlikehold så lenge filteret er hermetisk lukket og plombert.
Forespørsler
Ved forespørsel og bestilling bes oppgitt:
- Type
- Tilleggsutstyr:
- Motstandstykke for testing
- Volumregulator
- Sjokkventil for luftinntak (med evt. grovfilter)
- Sjokk/overtrykksventil for luftavkast
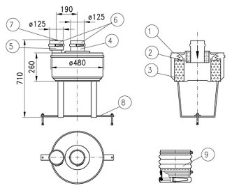
ABC-filter GF-40 (se illustrasjon)
- Filterhus
- HEPA filter
- Aktivt kullfilter
- Innløpsstuss
- Utløpsstuss
- Plombert hette
- Trykkutjevningsskrue
- Festebrakker
- Fleksibel mansjett med hurtigkobling
Filteret kan leveres i spesialutførelse med redusert høyde på stativ.

ABC-filter GF-75 (se illustrasjon)
- Filterhus
- HEAP filter
- Aktivt kullfilter
- Innløpsstuss
- Utløpsstuss
- Plombert hette
- Trykkutjevningsskrue
- Festebrakker
- Fleksibel mansjett med hurtigkobling
Filteret kan leveres i spesialutførelse med redusert høyde på stativ.
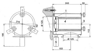
Sjokkventil ESV/VF 40 (se illustrasjon)
- Hus i varmforsinket stål
- Ventilklaff i rustfritt stål
- Deksel i varmeforsinket stål
- Grovfilter (oposjon)
- Kondensflaske

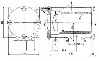
Sjokkventil ESV/VF 75-150 (se illustrasjon)

| TYPE | GF 150/180/200E (LS T 97-053) |
GF 600E (LS T 00-052) |
GF 900/1000/1200E (LS T 95-002) |
GF 1500 E/S (LS T 03-051) |
| Kapasitet, m³/h | 150/180/200 | 600 | 900/1000/1200 | 1500 |
| Motstand, Pa | 320/410/465 | 750 | 650/750/900 | 1000 |
| Vekt, kg | 60 | 230 | 305 | 365 |
| TYPE | Luftmengde m³/h | Motstand Pa |
| ESV/VF 40 | 40 | 45 |
| ESV/VF 40 | 80 | 165 |
| ESV/VF 75 | 75 | 20 |
| ESV/VF 75 | 150 | 55 |
|
|